BMW veut transformer un simple boulon en cadenas de luxe : ses nouvelles vis en forme de logo pourraient compliquer la vie de tous les motards bricoleurs
BMW s’apprête à bouleverser les codes de l’industrie automobile avec une innovation aussi surprenante que controversée : une vis dont la tête reprend la forme emblématique de son logo.
Derrière ce détail en apparence anodin se cachent des enjeux majeurs pour l’entretien, la réparabilité et l’accès aux composants des véhicules de la marque.
Voir cette publication sur Instagram
Cette initiative, qui mêle identité visuelle et stratégie industrielle, soulève déjà de vives réactions parmi les passionnés et les professionnels, et pourrait bien redéfinir la relation entre constructeurs, consommateurs et ateliers indépendants.
Origine et spécificités du brevet de vis logotée BMW
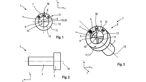
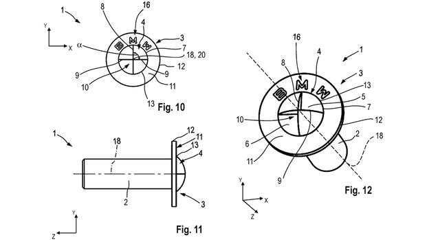
BMW vient de franchir un nouveau cap en matière d’identité de marque en déposant un brevet pour une vis dont la tête adopte la forme emblématique de son logo.

Contrairement aux profils standards comme Torx ou Allen, ce système intègre l’hélice bleue et blanche directement dans le profil de serrage, rendant toute intervention impossible sans un outil dédié.
Le brevet prévoit plusieurs variantes, incluant des têtes plates, arrondies ou fraisées, mais la conception limite le couple transmissible en raison de surfaces de contact réduites.
Voir cette publication sur Instagram
Cette innovation, plus symbolique que technique, vise avant tout des éléments visibles ou décoratifs, et soulève déjà des débats sur l’accessibilité des réparations pour les particuliers.
Objectifs et motivations stratégiques de BMW
Derrière ce brevet, BMW avance plusieurs arguments stratégiques : renforcer la sécurité des véhicules en limitant les interventions non autorisées, garantir la qualité des réparations en réservant l’accès aux pièces à des techniciens certifiés, et lutter contre la contrefaçon de composants.
Cette démarche s’inscrit aussi dans une volonté de maîtriser l’écosystème après-vente, en fidélisant la clientèle aux réseaux officiels et en préservant des revenus essentiels issus de l’entretien.
Voir cette publication sur Instagram
Enfin, en intégrant son logo jusque dans la quincaillerie, BMW affirme son identité de marque jusque dans les moindres détails, tout en se positionnant face aux enjeux économiques et réglementaires liés au droit à la réparation.
Impacts sur la réparabilité et réactions de la communauté
L’introduction de vis logotées BMW complexifie l’entretien pour les particuliers et les garages indépendants, qui se retrouvent confrontés à la nécessité d’outils propriétaires difficilement accessibles.
Cette restriction d’accès à certains composants suscite de vives réactions : consommateurs et passionnés dénoncent une entrave au droit à la réparation et une dépendance accrue aux concessionnaires, synonyme de coûts plus élevés et de délais rallongés.
BMW will make it harder to repair their cars « illegally »-
The company has introduced patented screws with a logo-shaped head, which are currently only available to official dealers. These fasteners cannot be removed with standard keys, which could make independent repair and… pic.twitter.com/X7glB1uHkP
— Chay Bowes (@BowesChay) December 23, 2025
Les défenseurs du « right to repair » alertent sur le risque d’exclusion des réparateurs indépendants et d’érosion de la culture du bricolage automobile.
Face à la polémique, certains évoquent déjà des alternatives comme l’impression 3D d’outils, tandis que la question d’une régulation accrue du secteur refait surface.
Perspectives d’application et enjeux pour l’industrie automobile
Au-delà des éléments décoratifs, ces vis pourraient trouver leur place sur des composants sensibles des véhicules électriques, où la sécurité et l’accès contrôlé sont primordiaux.
Toutefois, leur généralisation se heurte à des obstacles réglementaires, notamment en Europe, où le droit à la réparation progresse.
La communauté automobile explore déjà des alternatives, comme la standardisation des outils ou l’impression 3D d’embouts adaptés.
Si BMW persiste, cette initiative pourrait inciter d’autres constructeurs à suivre, accélérant le débat sur l’équilibre entre innovation, exclusivité et réparabilité.
À terme, l’industrie pourrait être contrainte d’adopter des protocoles plus ouverts, sous la pression des consommateurs et des législateurs.




