KTM mise sur les compresseurs pour dynamiter ses bicylindres pendant que la Chine rêve de moteurs V8 à plat
L’univers de la moto évolue à grande vitesse, porté par l’innovation et la recherche de performances toujours plus poussées. Entre technologies hybrides inédites, stratégies de marques historiques et percée de nouveaux acteurs ambitieux, le secteur connaît une véritable révolution.
Les constructeurs rivalisent d’ingéniosité pour répondre aux exigences des motards et aux normes environnementales, tout en repoussant les limites de la puissance et du confort.
Tour d’horizon des tendances et des avancées qui dessinent le futur de la moto, entre tradition, modernité et audace technologique.
Les enjeux de la suralimentation hybride chez KTM
Face à l’évolution rapide du secteur moto, KTM s’engage dans la course à la suralimentation hybride pour répondre à des défis multiples.
L’introduction d’un compresseur électromécanique vise à concilier puissance, réactivité et respect des normes d’émissions de plus en plus strictes, notamment en Europe.
En combinant entraînement mécanique et assistance électrique, KTM ambitionne d’offrir des performances optimales à bas régime tout en améliorant l’efficacité énergétique, répondant ainsi aux attentes des passionnés et aux exigences réglementaires du marché mondial.
Les grandes tendances qui redéfinissent la moto moderne
- Électrification partielle : la combinaison moteur thermique / assistance électrique s’impose comme la voie de transition.
- Allègement des structures : usage croissant de matériaux composites pour réduire le poids et optimiser la maniabilité.
- Connectivité accrue : écrans TFT intelligents, données de conduite en temps réel, et mise à jour logicielle à distance.
- Adaptation aux normes Euro 6 : les constructeurs repensent les blocs moteurs pour concilier performance et émissions réduites.
Cette innovation s’inscrit dans un contexte de concurrence accrue, avec la Kawasaki H2 et le futur Honda V3R, qui misent déjà sur des technologies de suralimentation avancées.
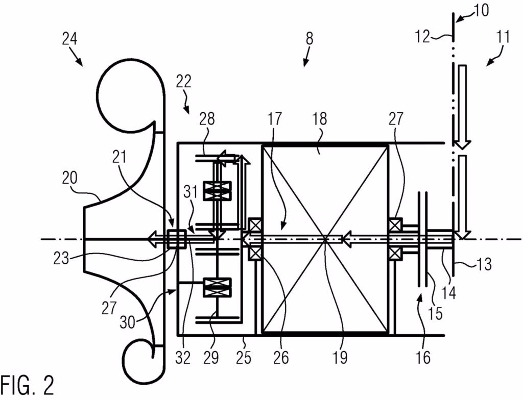
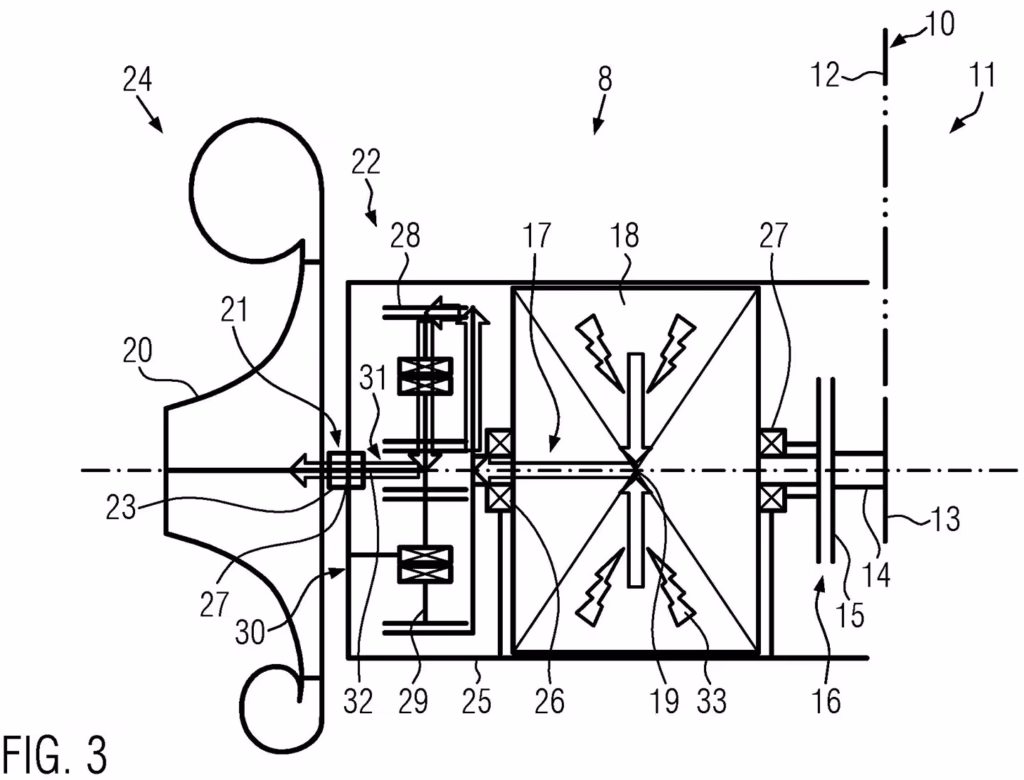
Fonctionnement et innovations du compresseur électromécanique KTM
Le compresseur hybride de KTM associe un entraînement mécanique relié au vilebrequin à un moteur électrique, le tout orchestré par un embrayage électronique intelligent.
À bas régime, l’embrayage déconnecte le compresseur du moteur thermique, permettant au moteur électrique d’assurer une suralimentation immédiate et sans latence.
À haut régime, l’embrayage s’enclenche pour transmettre la puissance mécanique, optimisant ainsi l’efficacité.
Un mode combiné exploite simultanément les deux sources pour des performances maximales. L’intégration d’une transmission planétaire permet d’atteindre des vitesses de rotation élevées, tandis que le système récupère l’énergie lors des phases de décélération, rechargeant la batterie. Cette architecture innovante promet puissance, réactivité et sobriété énergétique.
Avantages techniques :
- Suppression du “turbo lag” traditionnel.
- Réduction de l’usure mécanique grâce à l’embrayage intelligent.
- Capacité de régénération d’énergie en décélération.
- Une solution pensée pour conjuguer plaisir et durabilité mécanique.
Avantages et bénéfices du système hybride KTM
Le compresseur hybride développé par KTM se distingue par une réactivité exemplaire, surpassant la latence des turbos traditionnels et l’inertie des compresseurs purement mécaniques.
Grâce à l’assistance électrique, la suralimentation est instantanée à bas régime, offrant une réponse immédiate à l’accélérateur.
Ce système optimise également la consommation d’énergie, car l’électrification n’est sollicitée que lorsque cela est nécessaire, limitant la taille et le poids de la batterie par rapport à un compresseur tout électrique.
Les points forts à retenir :
- Puissance maîtrisée : accélérations franches et régulières grâce au système combiné.
- Sobriété énergétique : rendement optimisé à chaque phase de conduite.
- Flexibilité industrielle : adaptable à plusieurs gammes sans refonte complète des moteurs.
Sa compacité facilite l’intégration sur différents modèles, y compris les moteurs de petite cylindrée. Enfin, cette technologie permet à KTM d’anticiper les futures normes environnementales, en réduisant émissions et consommation sans sacrifier les performances.
Perspectives d’application et impact sur le marché moto
La modularité du compresseur hybride KTM ouvre la voie à une adaptation sur une large gamme de motos, des sportives aux modèles de moyenne cylindrée, voire aux trails et roadsters.
Cette flexibilité technique pourrait accélérer la démocratisation de la suralimentation hybride dans l’industrie, poussant les concurrents à innover pour rester compétitifs.
Pour KTM, cette avance technologique renforce son image de pionnier et pourrait influencer les standards du marché, notamment face aux exigences croissantes en matière d’émissions.
À terme, la généralisation de ce type de système pourrait transformer l’offre des motos de série, en alliant performances, sobriété et respect des normes environnementales, tout en stimulant une nouvelle dynamique concurrentielle.



