BMW imagine une moto fermée comme une capsule avec huit petites roues pour ne plus tomber à l’arrêt, et c’est sans doute l’idée la plus folle de son histoire récente
BMW s’apprête à bousculer les codes de la mobilité urbaine avec un projet de moto entièrement carénée, à l’aérodynamisme poussé à l’extrême.
Fidèle à son esprit d’innovation, la marque allemande explore une nouvelle génération de deux-roues, alliant efficacité énergétique, sécurité et design futuriste.
Ce concept inédit, inspiré par la forme de la goutte d’eau, promet de repousser les limites de l’autonomie et du confort, tout en répondant aux défis de la mobilité électrique.
Une vision audacieuse qui pourrait bien redéfinir l’avenir du déplacement urbain.
Le projet de moto carénée BMW : une nouvelle vision de la mobilité
BMW s’illustre une fois de plus par son audace en dévoilant un concept de moto entièrement carénée, adoptant une silhouette en goutte d’eau.
Ce design, inspiré par la recherche d’une aérodynamique optimale, vise à réduire drastiquement la résistance à l’air, améliorant ainsi l’efficacité énergétique et l’autonomie, notamment pour les motorisations électriques.
En misant sur une carrosserie fermée et un système innovant de stabilisation, la marque munichoise entend dépasser les limites des deux-roues traditionnels.
Ce projet s’inscrit dans la volonté de BMW de se démarquer des tendances classiques du marché, en proposant une solution de mobilité urbaine à la fois futuriste, efficiente et adaptée aux enjeux de la transition énergétique.
Inspirations, antécédents et défis techniques des motos carénées
L’idée d’une moto carénée n’est pas nouvelle : dès les années 1980, la Peraves Ecomobile, puis la Monoracer, ont démontré l’efficacité d’une capsule profilée, capable d’atteindre 250 km/h et 400 km d’autonomie grâce à une aérodynamique poussée.
BMW, déjà à l’origine du C1 ou de concepts comme le Simple, s’inspire de ces pionniers tout en cherchant à résoudre leur principal écueil : la stabilité à l’arrêt.
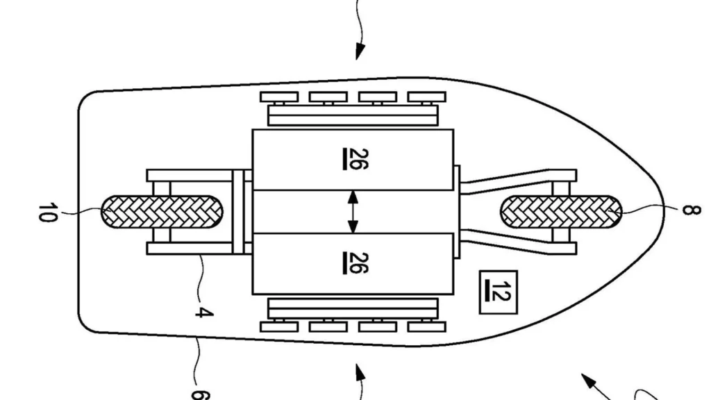
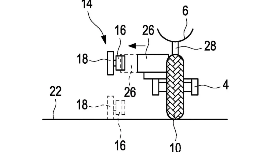
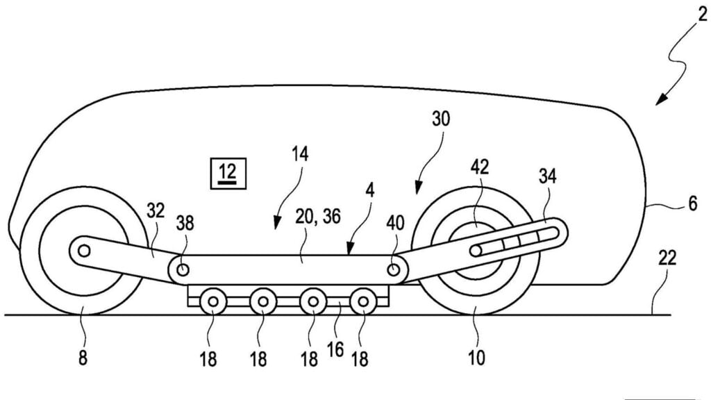
Contrairement aux gyroscopes lourds ou aux stabilisateurs latéraux classiques, BMW propose un système inédit à huit roues auxiliaires.
Malgré leurs avantages (protection, efficacité, faible encombrement) ces motos peinent à convaincre, freinées par la complexité technique, le coût et l’absence d’habitude du public face à ce format hybride.
Le système de huit roues stabilisatrices : une solution inédite signée BMW
Pour pallier l’impossibilité de poser le pied à terre sur une moto carénée, BMW a breveté un dispositif unique : huit petites roues rétractables, réparties en deux rangées de quatre de chaque côté du véhicule.

Ce choix technique, privilégié face aux gyroscopes jugés trop lourds et complexes, garantit une stabilité optimale même sur des surfaces irrégulières, chaque roue jouant un rôle d’appui redondant.
Contrairement aux stabilisateurs latéraux classiques, cette configuration permet de conserver un gabarit étroit, essentiel pour la circulation urbaine.
Outre la sécurité accrue à l’arrêt, le système limite l’encombrement et s’intègre discrètement sous la carrosserie, offrant ainsi une solution à la fois pratique, fiable et adaptée aux exigences de la mobilité moderne.
Atouts et perspectives d’avenir pour la moto carénée BMW
La moto carénée selon BMW promet des bénéfices majeurs : une aérodynamique avancée réduit la consommation énergétique, prolongeant l’autonomie, un atout décisif pour l’électrification.

La protection intégrale contre les intempéries et le faible encombrement facilitent les déplacements urbains, répondant aux besoins croissants de mobilité durable.
Toutefois, pour que ce concept s’impose, il faudra surmonter des défis d’industrialisation, de coût et d’acceptation culturelle.
L’évolution des réglementations, la pression environnementale et l’essor des véhicules électriques pourraient cependant accélérer son adoption.
Si BMW parvient à conjuguer praticité, sécurité et accessibilité, la moto carénée pourrait enfin trouver sa place dans le paysage urbain de demain.
