Un moteur « qui n’existe pas » ! Yamaha dépose un brevet pour un moteur factice destiné à convaincre les motards récalcitrants de passer aux motos électriques
Le frisson du moteur, le grondement à l’accélération, la vibration sous la selle : pour de nombreux motards, ces sensations sont indissociables du plaisir de conduire.
Face à l’essor des motos électriques, une question persiste : comment préserver cette expérience sensorielle unique sans moteur thermique ?
Yamaha s’attaque à ce défi avec une innovation brevetée en 2025, promettant de réconcilier tradition et modernité.
Entre nostalgie mécanique et avancées technologiques, une nouvelle ère s’annonce pour les passionnés de deux-roues, où l’émotion pourrait bien retrouver sa place au cœur de l’électrique.
Le défi sensoriel des motos électriques
Pour de nombreux passionnés, la moto ne se résume pas à un simple moyen de transport : c’est une expérience sensorielle unique, faite de sons puissants, de vibrations et d’un retour haptique qui renforcent le lien entre le pilote et sa machine.
Or, selon Yamaha, l’absence de ces sensations sur les motos électriques constitue un frein majeur à leur adoption.
Comment ça marche ?
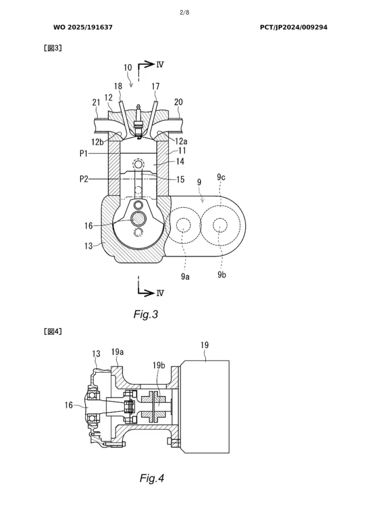
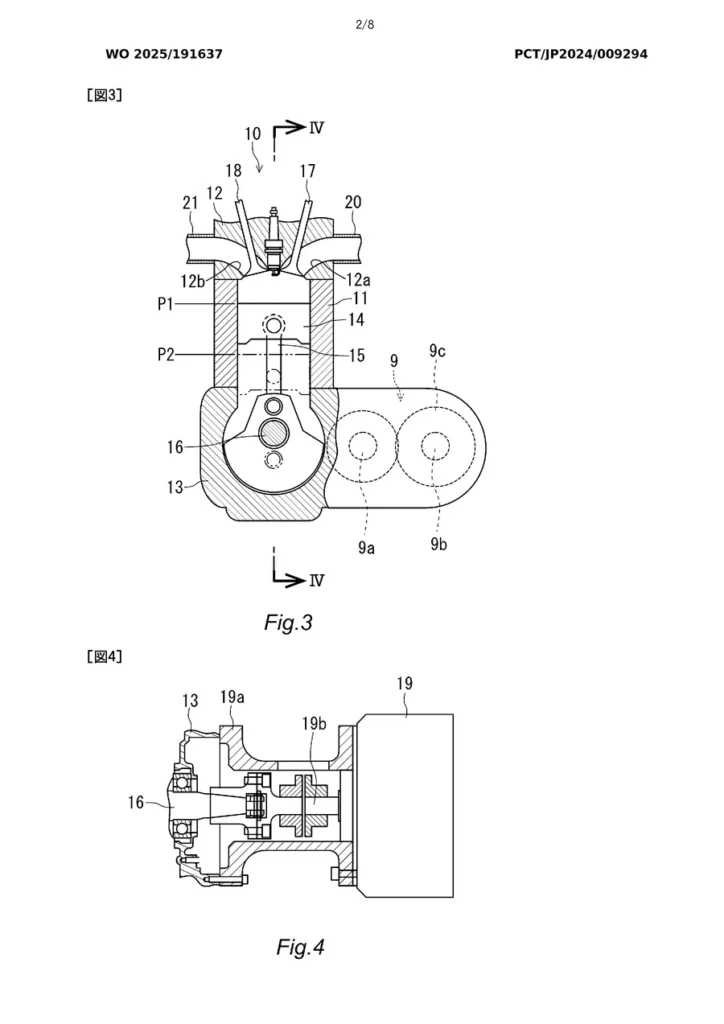
- Le moteur électrique actionne un vilebrequin et des pistons factices.
- L’air circule dans un résonateur, puis est expulsé via un pot d’échappement.
- Sons et vibrations sont synchronisés avec la vitesse et l’accélération.
- L’esthétique du bloc moteur imite parfaitement un moteur thermique.
Le silence et le manque de vibrations, pourtant synonymes de modernité et d’écologie, privent les motards de cette connexion instinctive qui fait tout le charme des modèles thermiques.
Face à ce constat, Yamaha cherche à réinventer l’expérience électrique pour séduire les amateurs en quête d’émotions authentiques.
Un moteur factice pour des sensations authentiques
Le brevet déposé par Yamaha détaille un système inédit : un moteur factice, doté d’un vilebrequin et de pistons animés par le moteur électrique, reproduit fidèlement les mouvements d’un bloc thermique.
L’air aspiré circule dans un résonateur, puis est expulsé via un pot d’échappement, générant des sons et des vibrations synchronisés avec l’accélération et la vitesse.
Avantages et inconvénients du moteur factice Yamaha
Avantages :
- Sensations proches d’un moteur thermique traditionnel
- Transition plus douce vers l’électrique pour les motards nostalgiques
- Amélioration de la sécurité en milieu urbain grâce au son émis
- Expérience immersive et fidèle à l’accélération et la vitesse
Inconvénients :
- Complexité mécanique et risque de surpoids
- Consommation d’énergie supplémentaire
- Expérience jugée artificielle par certains puristes
- Entretien potentiellement plus coûteux qu’une moto électrique standard
Ce dispositif, couplé à une esthétique soignée imitant un vrai moteur à combustion, vise à tromper les sens du pilote.
Ainsi, Yamaha parvient à recréer l’illusion d’une moto thermique, tout en conservant les avantages de l’électrique, offrant une expérience immersive et familière aux amateurs de sensations mécaniques.
Reconquérir les motards et réinventer l’authenticité
Avec ce brevet, Yamaha poursuit plusieurs objectifs stratégiques : rassurer les motards attachés à l’émotion mécanique, faciliter la transition vers l’électrique en préservant les repères sensoriels, et améliorer la sécurité grâce à une moto plus audible en milieu urbain.
L’initiative répond aussi à une forte demande de nostalgie, en réinjectant du « vécu » dans l’expérience de conduite.
Toutefois, cette innovation soulève la question de l’authenticité : une moto électrique peut-elle vraiment offrir la même intensité qu’un modèle thermique, ou s’agit-il d’un simple artifice ?
Ce pari audacieux pourrait séduire les puristes… ou diviser les amateurs, entre tradition et modernité.
Limites, critiques et perspectives d’adoption
Malgré son ingéniosité, le concept de Yamaha suscite des interrogations. Certains puristes dénoncent une expérience « artificielle », estimant qu’un moteur factice ne saurait égaler l’authenticité d’un bloc thermique.
La complexité technique, l’ajout de pièces mobiles et le surpoids risquent aussi de compromettre la simplicité et l’efficacité attendues d’une moto électrique.
De plus, la consommation d’énergie supplémentaire pour générer sons et vibrations va à l’encontre de la sobriété recherchée.
Contrairement à Harley-Davidson ou Zero Motorcycles, qui misent sur le silence ou des sons électroniques, Yamaha parie sur une simulation mécanique.
Reste à savoir si cette approche séduira les motards traditionnels ou si elle s’adressera surtout à une niche nostalgique, en quête de sensations perdues.






